Product Summary
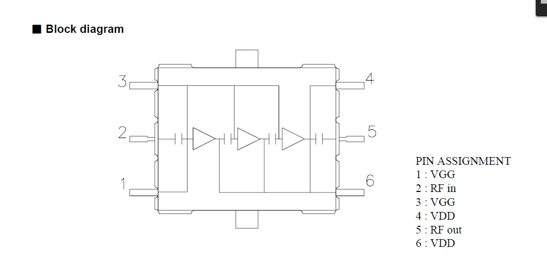
The EMM5068VU is a X-band power amplifier MMIC. The EMM5068VU MMIC amplifier contains a three-stages amplifier, internally matched, for standard communications band in the 9.5 to 13.3GHz frequency range. Eudyna Devices stringent Quality Assurance Program assures the highest reliability and consistent performance.
Parametrics
EMM5068VU absolute maximum ratings: (1)Drain-Source Voltage VDD: 10V; (2)Gate-Source Voltage VGG: -3V; (3)Input Power Pin: 26dBm; (4)Channel Temperature Tch: +175℃; (5)Storage Temperature Tstg: -55 to +125℃.
Features
EMM5068VU features: (1)High Output Power: Pout=33.0dBm (typ.); (2)High Linear Gain: GL=26.0dB (typ.); (3)Broad Band: 9.5-13.3GHz; (4)Impedance Matched Zin/Zout=50Ω; (5)Small Hermetic Metal-Ceramic SMT Package(VU).
Diagrams

(China (Mainland))






